
Home
Vergaser |
Der Vergaser - das unbekannte
Wesen
sein Funktionsprinzip |
Zur Fehlerdiagnose und zum
Verständnis, was man mit geänderten Vergasereinstellungen bewirkt,
ist es hilfreich zu verstehen wie ein Vergaser funktioniert.
Das Ganze in 9 Schritten.
|
1. |

Das wichtigste
Bauteil jedes Vergasers ist das Venturirohr. Das ist das
Rohr durch das die Luft vom Luftfilter in Richtung
Einlass strömt. Das Venturirohr ist in der Mitte nach
innen gewölbt wie eine Flugzeugtragfläche.
|
|
2. |

Wenn Luft durch das
Rohr strömt und den engeren Bereich passiert, muß sie an
dieser Stelle schneller strömen als in den anderen
Bereichen. Dadurch entsteht an der Engstelle ein
Unterdruck (wie an der Oberseite einer Tragfläche). An
der Engstelle ist ein kraftstoffgefülltes Röhrchen
angebracht. Durch den Unterdruck im Venturirohr wird der
Kraftstoff angesaugt und vom Luftstrom mitgerissen.
Das ist eigentlich
alles, was man vom Prinzip her für einen Vergaser
braucht und die Ersten hatten auch nicht mehr.
|
|
3. |

Um fahren zu können,
muß jedoch die Motorleistung reguliert werden können.
Zur Regulierung der
Kraftstoffmenge ist im Vergaser ein Schieber eingebaut.
Am Schieber ist eine Düsennadel (rot)
befestigt, die in die Nadeldüse (grün)
eintaucht. Je nachdem, wie der Schieber steht,
verschließt die Düsennadel mehr oder weniger die
Nadeldüse.
Wenn der Schieber
gleichzeitig den Luftstrom blockiert wenn er unten ist,
funktioniert dieser gleichzeitig als Drosselklappe. Dies
ist das Prinzip, das zum Beispiel bei den Vergasern der
Yamaha RD Motoren (2-Takter) zur Anwendung kommt.
Zur gleichmäßigen
Gemischbildung ist es wichtig, dass der Kraftstoffpegel
in dem Röhrchen konstant ist. Sinkt nämlich der Pegel
kann weniger Benzin angesaugt werden und das
Benzin-Luft-Gemisch wird zu mager.
|
|
4.
 |

Die Vorrichtung, die
den Kraftstoffpegel auf einem Niveau hält, besteht aus
dem Schwimmer (blau)
und dem Schwimmernadelventil (rot).
Die Bauteile sind im Schwimmergehäuse (grün)
untergebracht.
Sinkt der
Kraftstoffpegel senkt sich der Schwimmer und das
Schwimmernadelventil) wird geöffnet. Kraftstoff kann
nachfließen, der Pegel steigt, der Schwimmer hebt sich
und schließt das Schwimmernadelventil.
Damit das
Schwimmernadelventil sich nicht in seinen Sitz
einarbeitet, wird es auf einer Feder gelagert, die die
Stöße abfängt.
Bei Vergaserproblemen
immer auch die Feder prüfen, die setzt sich gerne fest,
wenn der Vergaser längere Zeit nicht in Betrieb ist und
der Kraftstoff nicht abgelassen wurde.
Dieser Vergaser hat
leider einen Nachteil.
Wenn der Schieber
schlagartig aufgezogen wird, ist der ganze Querschnitt
geöffnet. Der Motor hat aber noch eine geringe Drehzahl
und der Unterdruck im Venturirohr sinkt an der engsten
Stelle ab. Dadurch kann nicht mehr genug Kraftstoff
angesaugt werden. Der Motor läuft zu mager bzw. er
stirbt ab. Dieses Problem tritt vorwiegend bei den
Flachschiebervergasern auf, da sie genau nach diesem
Prinzip arbeiten. Umgekehrt überfettet der Motor, wenn
der Schieber geschlossen wird.
|
|
5. |

Um das zu ändern,
wird eine automatische Schieberregelung eingebaut.
Strömt Luft durch das
Venturirohr, so entsteht Unterdruck. Er wirkt durch die
rot eingekreiste Öffnung auf den Schieber. Der Schieber
ist durch eine Membrane (orange)
gegen den Umgebungsdruck (blauer
Kreis) abgeschirmt. Der Unterdruck (grün)
hebt dadurch Schieber an bis sich ein Gleichgewicht
eingestellt hat.
Dadurch wird bei zu
magerem Gemisch -also bei zu hoher Drehzahl die
Düsennadel herausgezogen und dadurch das Gemisch fetter.
Die Drehzahl sinkt bis der Motor mit dem optimalem
Gemisch läuft
Der Vergaser
funktioniert jetzt schon ganz gut, nur leider gibt es
jetzt keine Möglichkeit mehr ihn zu regulieren da alles
vom Luftstrom abhängt den der Motor ansaugt.
|
|
6.
 |

Um die Drehzahl des
Motors zu regulieren braucht man nun eine Drosselklappe.
Die Drosselklappe (rot)
reguliert bei Bedarf den Luftstrom im Venturirohr.
Bei geschlossener
Drosselklappe entsteht nun aber im Venturirohr kein
Unterdruck mehr da die engste Stelle nun an der
Drosselklappe ist. Durch das Röhrchen würde kein
Kraftstoff mehr angesaugt werden und der Motor würde aus
gehen.
|
|
7. |

Ein zusätzliches
Ansaugsystem wird in der Nähe der Drosselklappe für das
Standgas benötigt.
Das Benzin wird über
die Leerlaufdüse (rot)
angesaugt und dabei grob vordosiert. Danach gelangt es
an der Gemischregulierschraube (blau)
in das Venturirohr.
Damit der Benzinnebel
schön fein ist, wird das Benzin an der Leerlaufdüse mit
Hilfe zusätzlicher Luft, die durch den Leerlaufluftkanal
(grün) zugeführt
wird, vorgemischt.
|
|
8.
 |

Weil das Prinzip mit
dem Vormischen so gut funktioniert, wird dies auch im
Hauptsystem durchgeführt.
Der Hauptluftkanal (grün)
führt über die Hauptluftdüse (blau)
die Luft dem Mischrohr (lila) zu. Der Kraftstoff wird
durch die Hauptdüse (rot)
angesaugt.
Das Mischrohr wird
auch als Düsenstock bezeichnet
Der Vergaser, wie er
jetzt ist, hat schon sehr gute Eigenschaften. Der Motor
säuft nicht ab, wenn schlagartig Vollgas gegeben wird
und der Leerlauf ist hervorragend einstellbar.
|
|
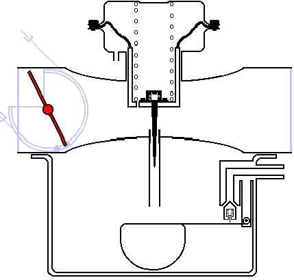
9. |

Bei kaltem Motor aber
wird ein deutlich fetteres Gemisch benötigt, um zu
starten. Diese Gemischanfettung wird durch den Choke
erreicht.
Ältere Vergaser haben
hierzu oft am Anfang des Venturirohres eine zusätzliche
Drosselklappe, um den Luftstrom zu verringern und
dadurch das Gemisch anzufetten.
Eine weitere
Möglichkeit, ein fetteres Gemisch zu erhalten, ist
einfach mehr Kraftstoff zuzuführen Dies erreicht man mit
einem Kaltstartventil mit eigener
Kaltstartkraftstoffdüse.
Wenn das
Kaltstartventil (blau)
geöffnet wird, strömt Luft durch die Kaltstartluftdüse (magenta)
und an dem Kaltstartventil vorbei. Dabei reißt es Benzin
mit, welches durch die Kaltstartkraftstoffdüse (rot)
angesaugt wird .
|
|
Ergänzend
meine, aus der Erfahrung mit dutzenden Vergasern und
verstopften Düsen und Kanälen erwachsenen,
Hinweise dazu : |
|
|
zu
7 Ist bei einem Mehr – (X) Zylinder –
Motor, mit gleicher Anzahl (X) an Einzelvergasern, auch
nur eine einzige der (X) Leerlaufdüsen verstopft, läuft
der Motor ab minimal erhöhter Leerlaufdrehzahl bis zu
einer bestimmten Drehzahl nur auf (X)-1 Zylindern nur
wie nen „Sack Nüsse“ und nimmt nur sehr widerwillig Gas
an.
Ab einer wesentlich höheren
Drehzahl hebt die Luftströmung im Venturi-Rohr dann
den/die Schieber samt der Schiebernadel an und die
Hauptdüse bringt den, bei dieser höheren Drehzahl,
erforderlichen Sprit.
Die Erfahrung hat gezeigt, daß
diese „höhere“ Drehzahl bei ca. 25-30 % des maximalen
Drehzahlbandes liegt / beginnt, d.h. daß erst ab dieser
Drehzahl der Motor bestens Gas an nimmt und sauber dem
Dreh am Gasgriff folgt.
Bestens erkennbar an einem
wesentlich weniger heißem Krümmer-Rohr - am besten
messbar per Laser-Meßgerät.
Einzige Abhilfe : Vergaser raus
und mind. die betreffende Leerlaufdüse(n) ausbauen und
reinigen – besser gleich alle.
zu 9 Ist bei
einem Mehr – (X) Zylinder – Motor, mit gleicher Anzahl
(X) an Einzelvergasern, auch nur eine einzige der
Zufuhrwege von Sprit verengt oder sogar verstopft, will
der Motor in „kaltem“ Zustand nur unwillig Gas annehmen
und starten.
Ab leicht erhöhter
Leerlaufdrehzahl (ca. 2-2.500 U/min) nimmt der Motor
dann aber rel. Sauber Gas an, muß aber bei einem Stop
nach wenigen Metern, per „Spielen“ am Gasgriff am Leben
gehalten werden bis er eine höhere / normale
Betriebstemperaturerreicht hat .
Auch bestens erkennbar an einem
wesentlich weniger heißem Krümmer-Rohr - am besten
messbar per Laser-Meßgerät.
Einzige Abhilfe : Vergaser raus
und mind. die betreffende Choke-Spritführung reinigen.
Was auch passieren kann, ist das Verstopfen des
jeweiligen „Choke-Kanals“ in der Schwimmerkammer. |
und hier das Ganze zum
Download
als pdf-Datei bereit gestellt.
 |